Vana klassiku hingeelu
Kasutage otsingut,see teema siit korduvalt läbi käinud.Sobib ainult atf,sest tehas näeb nii ette ja atf on vastupidiselt mootoriõlile väga väikese temp.tundlikkusega-viskoossus muutub vähe.
Segusiibriga pole zenith-strömb. tüüpi karpadel õliga mingit seost ja nõuka-aegsetel polnudki kusagile õli vaja panna:poke:
Tegu on muutuva läbimõõduga kurguga karpaga,mistõttu pole vajadust kiirenduspumba järele.Õli kasutatakse peadoseerdüüsi nõela ja muutuva kurgu
kolvi liikumise stabiliseerimiseks.
Ei viitsi kogu karbussiteooriat siia trükkida,netis infot piisavalt.
Segusiibriga pole zenith-strömb. tüüpi karpadel õliga mingit seost ja nõuka-aegsetel polnudki kusagile õli vaja panna:poke:
Tegu on muutuva läbimõõduga kurguga karpaga,mistõttu pole vajadust kiirenduspumba järele.Õli kasutatakse peadoseerdüüsi nõela ja muutuva kurgu
kolvi liikumise stabiliseerimiseks.
Ei viitsi kogu karbussiteooriat siia trükkida,netis infot piisavalt.
Saabidega seotud voodoo ja -abi
www.ferdinand.ee – Autodiagnostika – SAAB diagnostika, remont ja elektritööd – AAC Ferdinand OÜ - tel. 5272989
www.ferdinand.ee – Autodiagnostika – SAAB diagnostika, remont ja elektritööd – AAC Ferdinand OÜ - tel. 5272989
Algselt postitas: SAABNINETHOUSAND
Noh! Karpa nagu motikal ja seda kolbi nimetataksegi segusiibriks.:fight:
see kolb ei ole segusiiber
Saabidega seotud voodoo ja -abi
www.ferdinand.ee – Autodiagnostika – SAAB diagnostika, remont ja elektritööd – AAC Ferdinand OÜ - tel. 5272989
www.ferdinand.ee – Autodiagnostika – SAAB diagnostika, remont ja elektritööd – AAC Ferdinand OÜ - tel. 5272989
Yldiselt 95-ga. Võsatagustes tanklates ei käi. Praegu on Statoili 95 sees.
edit: detonatsioon eeldaks vist ikka sellist korraliku pauku, see on rohkem selline värk nagu käiksid mingid kolvid lihtsalt edasi..... umbes nii. nagu tahaks korra uuesti käima minna ja siis sureks välja
edit: detonatsioon eeldaks vist ikka sellist korraliku pauku, see on rohkem selline värk nagu käiksid mingid kolvid lihtsalt edasi..... umbes nii. nagu tahaks korra uuesti käima minna ja siis sureks välja
Algselt postitas: SAABNINETHOUSAND
Aga siis ma paluks seletust, mis ta on. Ta on ikka ju kolvi kujuline ja all keskel on doseernõel.
hõrenduskolb,või vaakumi kolb on selle nimi.gaasiklappi nimetet seguklapiks.
Saabidega seotud voodoo ja -abi
www.ferdinand.ee – Autodiagnostika – SAAB diagnostika, remont ja elektritööd – AAC Ferdinand OÜ - tel. 5272989
www.ferdinand.ee – Autodiagnostika – SAAB diagnostika, remont ja elektritööd – AAC Ferdinand OÜ - tel. 5272989
Algselt postitas: SAABNINETHOUSAND
Kas on äkki hõõgsüütega tegemist. Mis bensaga sõidad?
Või siis detoneerib?
nende vahel käib võrdusmärk
Saabidega seotud voodoo ja -abi
www.ferdinand.ee – Autodiagnostika – SAAB diagnostika, remont ja elektritööd – AAC Ferdinand OÜ - tel. 5272989
www.ferdinand.ee – Autodiagnostika – SAAB diagnostika, remont ja elektritööd – AAC Ferdinand OÜ - tel. 5272989
-
S9K
- Leidur Leo
- Postitusi: 4302
- Liitunud: L Nov 12, 2005 23:54
- Asukoht: Viljandi
- Auto: Maserati Quattroporte
See peaks olema kütuse viga. Tavaliselt kipub asi nii olema ja kui veel vana auto ka, siis põlemiskambrid ära tahmand ja tekibki hõõgsüüde.
Nende vahele ei käi võrdusmärki. Tsiteerin A.Palu raamatust.
Töösegu detonatsioonilist põlemist ei tohi ära vahetada segu enneaegse süttimisega selle kokkupuutest hõõguva tahmakihi või mootori mõne kuuma detailiga. Hõõgsüüte korral põleb segu normaalse kiirusega, ainult selle enneaegse süttimise tõttu töötab mootor madalatoonilise kloppimisena. Töösegu detonatsiooniline põlemine aga tekib alati pärast seda kui segu on juba süüteküünla poolt juba süüdatud. Detonatsiooni ajal põleb segu ülikiirelt, kuni 2000m/s.
Nende vahele ei käi võrdusmärki. Tsiteerin A.Palu raamatust.
Töösegu detonatsioonilist põlemist ei tohi ära vahetada segu enneaegse süttimisega selle kokkupuutest hõõguva tahmakihi või mootori mõne kuuma detailiga. Hõõgsüüte korral põleb segu normaalse kiirusega, ainult selle enneaegse süttimise tõttu töötab mootor madalatoonilise kloppimisena. Töösegu detonatsiooniline põlemine aga tekib alati pärast seda kui segu on juba süüteküünla poolt juba süüdatud. Detonatsiooni ajal põleb segu ülikiirelt, kuni 2000m/s.
+ lahja segu,õhulekked olematu hõrendus tänu olematule kompressioonile jne.
Saabidega seotud voodoo ja -abi
www.ferdinand.ee – Autodiagnostika – SAAB diagnostika, remont ja elektritööd – AAC Ferdinand OÜ - tel. 5272989
www.ferdinand.ee – Autodiagnostika – SAAB diagnostika, remont ja elektritööd – AAC Ferdinand OÜ - tel. 5272989
Peale Hr. Triponicu pisikest lühiülevaadet ja EPC-st asja uurides sain mina eeldatavasti asjale pihta, mis kolvi töö stabiliseerimiseks see õli seal käib!:P
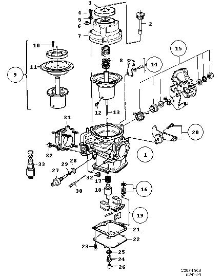
Minu EPC kataloog näitab kahte tüüpi karpat, "SOLEX" ja "PIERBURG".
Pistan siis siia ka Pierburg karburaatori pildi, ehk aitab nii mõnelgi aru saada:poke:
Minu EPC kataloog näitab kahte tüüpi karpat, "SOLEX" ja "PIERBURG".
Pistan siis siia ka Pierburg karburaatori pildi, ehk aitab nii mõnelgi aru saada:poke:
Vabandage neiu, mis kell on.... mul seisab
-
S9K
- Leidur Leo
- Postitusi: 4302
- Liitunud: L Nov 12, 2005 23:54
- Asukoht: Viljandi
- Auto: Maserati Quattroporte
Kui mootor on vana siis sisu kulunud ja silindri surve pole enam see mis ta peaks. AGA siin on selline asi veel: mu teisel autol silindri surve aint 5-6 bar ja sõitis väga ilusti, lihtsalt ei olnud niipalju jõudu.
Silindri survet saab väga lihtsalt mõõta seadmega milleks on kompressomeeter (põhimõtteliselt on tegemist manomeetriga). Küünlad keerad välja ja ühte silindrisse keerad k.meetri asemele. Siis tuleb gaasipedaal põhja vajutada ja anda starterit niikaua kui seier enam ei tõuse. Niimoodi käid kõik silindrid läbi. Surve ei tohiks erineda üle 1 Bar-i.
Silindri survet saab väga lihtsalt mõõta seadmega milleks on kompressomeeter (põhimõtteliselt on tegemist manomeetriga). Küünlad keerad välja ja ühte silindrisse keerad k.meetri asemele. Siis tuleb gaasipedaal põhja vajutada ja anda starterit niikaua kui seier enam ei tõuse. Niimoodi käid kõik silindrid läbi. Surve ei tohiks erineda üle 1 Bar-i.
tavaliselt väheneb kompressioon põlenud klapifaaside tõttu
Saabidega seotud voodoo ja -abi
www.ferdinand.ee – Autodiagnostika – SAAB diagnostika, remont ja elektritööd – AAC Ferdinand OÜ - tel. 5272989
www.ferdinand.ee – Autodiagnostika – SAAB diagnostika, remont ja elektritööd – AAC Ferdinand OÜ - tel. 5272989
-
S9K
- Leidur Leo
- Postitusi: 4302
- Liitunud: L Nov 12, 2005 23:54
- Asukoht: Viljandi
- Auto: Maserati Quattroporte
Seda kindlasti, aga mõningatel juhtudel esineb ka liigset kulumist. Klapid saab ilma suurema vaevata ära soveldada. Ma enda Saabikul soveldasin ja ilma vedrudeta bensiin põlemiskambrist igatahes kuskile in või out leti küll ei jooksnud.
Naftaga oleks parem testida.
Saabidega seotud voodoo ja -abi
www.ferdinand.ee – Autodiagnostika – SAAB diagnostika, remont ja elektritööd – AAC Ferdinand OÜ - tel. 5272989
www.ferdinand.ee – Autodiagnostika – SAAB diagnostika, remont ja elektritööd – AAC Ferdinand OÜ - tel. 5272989
iseenesestlik plahvatus põlemiskambris,või veelgi täpsemalt:
"Ebaühtlane,liiga kiire,plahvatuslik(1500-9000 m/s) ja lööklaineid
tekitav põlemine silindris,mis viib mootori ülekuumenemise,enneaegse kulumise ja mehaanilise purunemiseni".
det.soodustab ka hõõgsüüte tekkimist ja vastupidi
"Ebaühtlane,liiga kiire,plahvatuslik(1500-9000 m/s) ja lööklaineid
tekitav põlemine silindris,mis viib mootori ülekuumenemise,enneaegse kulumise ja mehaanilise purunemiseni".
det.soodustab ka hõõgsüüte tekkimist ja vastupidi
Saabidega seotud voodoo ja -abi
www.ferdinand.ee – Autodiagnostika – SAAB diagnostika, remont ja elektritööd – AAC Ferdinand OÜ - tel. 5272989
www.ferdinand.ee – Autodiagnostika – SAAB diagnostika, remont ja elektritööd – AAC Ferdinand OÜ - tel. 5272989
