6. leht 23-st
Saab 9-5 Estate 2.3t -->3.0t, 1999, overspeed
Postitatud: K Sept 05, 2012 1:10
Postitas vvs
...
Oskab keegi öelda, kuidas sellel universaalil on tagaluugi ülalpüsimine lahendatud: vedrud vöi amordid vöi mölemad, kui keeruline on neid vahetada ja kui palju peab nendele rahakotti kergendama ?
Ei taha teine enam ülal püsida. Kuna ise veel ei tea, siis mötisklema pani see, et külma ilmaga ei püsi üldse, kuid sooja ilmaga natukse veel püsib ülal

Rantto on sarnase asjaga tegelenud
http://www.saabiklubi.ee/foorum/viewthr ... #pid165500
Saab 9-5 Estate 2.3t -->3.0t, 1999, overspeed
Postitatud: K Sept 05, 2012 8:56
Postitas daags
Lühidalt: Pead laepolstri tagumise otsa lahti laskma ja pääsedki t.luugi amortidele ligi.
Saab 9-5 Estate 2.3t -->3.0t, 1999, overspeed
Postitatud: P Sept 09, 2012 2:29
Postitas overspeed
Tehtud.

- 06.jpg (94.62 KiB) Vaadatud 5609 korda
viewtopic.php?f=31&t=16989&p=200934#p200934
Oskab keegi öelda, kuidas sellel universaalil on tagaluugi ülalpüsimine lahendatud: vedrud vöi amordid vöi mölemad, kui keeruline on neid vahetada ja kui palju peab nendele rahakotti kergendama ?
Auto tagaosas lae all polstri taga peidus on kaks gaas-vedru amorti. Vahetus ei ole keeruline, maksid nad kokku 2tk: 86 EUR.

- 05.jpg (78.76 KiB) Vaadatud 5609 korda
Saab 9-5 tailgate gas springs - shocks 5D (WIS)
To remove:

- 01.gif (5.43 KiB) Vaadatud 5609 korda
1. Remove the cover over the hinge member, the D-pillar trim and the two mouldings between the C and D-pillars. Ühenduslüliplastik C ja D vahel on C pool ääretaga ja D pool kahvlina kinni ühenduses. Ma vötsin köigepealr selle vahetüki lahti, 2 kinnitust, ja siis painutasin C piilarist örnalt sissepoole välja ning siis tömbasin D plastiku küljest ettepoole lahti. Peale seda alles vötsin D piilari plastiku ära.
2. Remove the clips in the roof. Keerad 90 kraadi ja tuleb välja, sisse tagasi läeb otse öigetpidi.
3. Remove the covers in the cargo net holders and remove the clips. Remove the cargo safety net holders. Tömbad katteall olevad pulgad 2 tk välja ja plastik vabaneb.
Carefully bend down the roof.
4. Remove the sheet metal yoke over the front gas spring mounting. Get an assistant to hold the tailgate.

- 02.gif (8.99 KiB) Vaadatud 5609 korda
5. Unsnap the gas spring from the ball joints.
6. Remove the gas spring.
To fit:

- 03.gif (9.08 KiB) Vaadatud 5609 korda
1. Lubricate the gas spring ball sockets with Gleitmo 805 (part no. 30 06 442) and press the gas spring into both ball joints.
2. Fit the metal clip over the ball joint.
3. Fit the cargo net holders by pressing on the clips and fitting the clips in the roof.

- 04.gif (5.62 KiB) Vaadatud 5609 korda
4. Fit the roof moulding and D-pillar trim.
Allikas.
Saab 9-5 Estate 2.3t -->3.0t, 1999, overspeed
Postitatud: E Sept 17, 2012 5:45
Postitas overspeed
Ise ei ole küll kogenud, sest ei kasuta autot tihti ning, kui, siis ei näpi kangi söidu ajal,
kuid igapäevaselt autot kasutav auto-omanik kurtis:
Kui söidu ajal on automaadil kang D peal, siis sinna örnalt vastu minnes (aint vastu puutudes, mitte välja lükates käigu pesast) viskab ta korra N peale. Armatuuril vilksab ka korra N pölema, mootor korra möiratab sest vedu kaob ju tagant, kuid kohe kui puudutus katkestada, siis on D peal jälle normis.
Oskab keegi kommenteerida, kas miskit käigukangiasendiandur vajab timmimist vöi on kulunud vöi on lahti vibreerinud vöi mis omapära see selline on ja kuidas seda likvideerida ?
Saab 9-5 Estate 2.3t -->3.0t, 1999, overspeed
Postitatud: E Sept 17, 2012 7:47
Postitas Trionic
Arvan,et midagi on lahti trossiga,mis pole reguleeritav.Teine variant,et viga on kasti lülitis,mis on "natukene paigast" , kuid laseb veel käivitada. Kasti andur on reguleeritav.
Saab 9-5 Estate 2.3t -->3.0t, 1999, overspeed
Postitatud: K Sept 19, 2012 18:32
Postitas overspeed
-Kas too tross on nagu tömbele-töukele töötav?
-Kas sellega on kuidagit seotud ka see, et kui tagurdamiskäigu sisse panen, siis tagurdustulede lüliti rakendub vöibolla iseloomuga, vahest kohe, vahest hiljem, vahest üldse mitte ?
- Miskit on seal siis toimumas ... ons ka vöimalus, et too tross saab katki minna ja ennem hakkab niimoodi jamama ?
(Ei ole veel oma silmaga vaatamas käinud, sest ligipääs autole puudub hetkel, teen teoreetilist eeltööd)
Saab 9-5 Estate 2.3t -->3.0t, 1999, overspeed
Postitatud: N Sept 27, 2012 4:46
Postitas overspeed
See ?

- kang-ja-kast.jpg (43.15 KiB) Vaadatud 5510 korda

- kk-andur.jpg (55.55 KiB) Vaadatud 5510 korda
Saab 9-5 Estate 2.3t -->3.0t, 1999, overspeed
Postitatud: N Sept 27, 2012 7:49
Postitas Trionic
Täpselt see.On teine krõbeda hinnaga(tross on veelgi krõbedamaga),seega ära torma.Näita asja mõnele teadjamale.
Saab 9-5 Estate 2.3t -->3.0t, 1999, overspeed
Postitatud: N Sept 27, 2012 8:25
Postitas AndresV
Saab 9-5 tailgate gas springs - shocks 5D (WIS)
To remove
1. Remove the cover over the hinge member, the D-pillar trim and the two mouldings between the C and D-pillars.
2. Remove the clips in the roof.
3. Remove the covers in the cargo net holders and remove the clips. Remove the cargo safety net holders.
Carefully bend down the roof.
...
Seesama juhis sobib vist ka katuseantennile (uimele) ligipääsuks altpoolt? Uime kattekumm ei talu päikest, täiesti maha koorunud meie (pisut uuemal) autol.
Saab 9-5 Estate 2.3t -->3.0t, 1999, overspeed
Postitatud: N Sept 27, 2012 8:37
Postitas Homersimpson
Seesama juhis sobib vist ka katuseantennile (uimele) ligipääsuks altpoolt? Uime kattekumm ei talu päikest, täiesti maha koorunud meie (pisut uuemal) autol.
Sobib küll jah

Saab 9-5 Estate 2.3t -->3.0t, 1999, overspeed
Postitatud: R Sept 28, 2012 18:30
Postitas 13piisab
Näita asja mõnele teadjamale.
see ei ole teemaalgatajale vast ülemäära vajalik soovitus - ta on näinud-teinud törts enamat, kui siinne saab
tulles tagasi luugiamortide "hinnavaatluse" juurde, siis Klokkerholmi poolt kleepsustatud asjad sain ma ilusasti küsides üle 2 korra odavamalt, kui ülalviidatud Kilenid.
Saab 9-5 Estate 2.3t -->3.0t, 1999, overspeed
Postitatud: N Okt 18, 2012 2:24
Postitas overspeed
tulles tagasi luugiamortide "hinnavaatluse" juurde, siis Klokkerholmi poolt kleepsustatud asjad sain ma ilusasti küsides üle 2 korra odavamalt, kui ülalviidatud Kilenid.
Hetkel, kui mul neid päriskohe vaja oli, ei suutnud keegi tarnijates Saares neid mulle pakkuda, ka nende laod mandril olid tühjad.
Ei oska mujalt küsida mandrilt kui Saabi varuosade edasimüüjatelt Tallinnas, Audacer mind varustas.
Saab 9-5 Estate 2.3t -->3.0t, 1999, overspeed
Postitatud: R Dets 28, 2012 22:28
Postitas overspeed
Jöuluvana töi autokasutajale vastavad villased sokid:

- SAABvsokid.jpg (103.71 KiB) Vaadatud 5509 korda
Saab 9-5 Estate 2.3t -->3.0t, 1999, overspeed
Postitatud: T Jaan 08, 2013 4:54
Postitas overspeed
Lakkasid töötamast esitulede regulaatorid, mölemad korraga. Mötlesin et külmaga lasi kaitsme läbi, kuid ei leidnud plokist kaitset nendele olema. Ons seal miskit mujal kaitse vöi möni muu teadaolevam probleem?
Saab 9-5 Estate 2.3t -->3.0t, 1999, overspeed
Postitatud: T Jaan 08, 2013 7:34
Postitas Viki
11. kaitse kapoti all, tulekojameestega sama kaitse.
Saab 9-5 Estate 2.3t -->3.0t, 1999, overspeed
Postitatud: K Jaan 09, 2013 2:53
Postitas overspeed
Uurin asja, kodus olles polnud aega meelde tulema, et kapoti all ka kaitsmed on. Ühe teise söidukiga oli suurem probleemiotsing käsil.

- Fusebox_9_5_s.jpg (79.34 KiB) Vaadatud 5508 korda
OT (info omatarbeks, veljed)
http://saabworld.net/f9/faqs-about-saab-9-5-a-586/
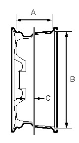
Wheel specifications for the Saab 9-5
The wheels is centered directly on the hub. The wheels bolts are tapered to locate the wheel correctly.
Bolt pattern/size: 5 x 110 mm
Wheels bolts size: M12 x 1.5. The same bolts are used for pressed steel and light alloy wheels
CB: 65.0mm
Width (A): Range between 6.5" and 7.5".
Diameter (B): OEM Saab wheels are 15, 16 and 17". The Aero (and 2006+ 2.3T in the US) need a minimum of 16" because of larger brakes.
The most common wheel sizes are 15x6,
16x6.5, 17x7 and 17x7.5
Offset (C): All Saab 9-5 wheels are
ET49

- wheel.jpg (9.32 KiB) Vaadatud 5508 korda
Recommended rim dimensions
6 x15” (not 2.3 Turbo, 2.3 T or 3.0 TiD) 6.5 x 16”
7 x 17"
7,5 x 17"
Wheels with diameter greater than 17” must not be fitted.
Spare wheel
Compact wheel: 4 x 16"
Normal wheel: 6 x 15"
Tightening torque wheel bolts / Velje poltide kinnipingutus moment
Aluminium wheels:
110 Nm / 80 lbf ft
Pressed steel wheels: 50 +90° +90°, max 110 Nm

- DSC_4348.jpg (640.13 KiB) Vaadatud 981 korda

- DSC_4349.jpg (654.03 KiB) Vaadatud 981 korda

- DSC_4355.jpg (753.28 KiB) Vaadatud 981 korda

- Suve_velg_Tauriel_02.jpg (271.81 KiB) Vaadatud 981 korda
Saab 9-5 Estate 2.3t -->3.0t, 1999, overspeed
Postitatud: T Jaan 22, 2013 0:13
Postitas overspeed
11. kaitse kapoti all, tulekojameestega sama kaitse.
Tänud, nii oligi.
Saab 9-5 Estate 2.3t -->3.0t, 1999, overspeed
Postitatud: R Mär 01, 2013 13:55
Postitas overspeed
Kui naastrehvide periood läbi saab, siis läevad alla taas valuveljed rehvidega Michelin Energy Saver +.
Manualis oli kirjas, et 16'' x 6,5 velgedele sobivad 215/55, kuid kuna mulle rehvi laiusest 1cm pole niivörd oluline, siis valisin suverehvideks 205/55, mis ka seal kirjas on, olgugi et M+S versioonile. Körguste vahe tuleb 5,5 mm, leian et ka see pole niivörd oluline. 215 ja 205 vahe on 10 mm laiuselt ja 5,5 mm körguselt kuid 62€ hinnalt
tükist.

- manualist-rehvid.jpg (68.86 KiB) Vaadatud 5507 korda
Saab 9-5 Estate 2.3t -->3.0t, 1999, overspeed
Postitatud: P Mär 17, 2013 17:37
Postitas overspeed
Ilmnes viga. Mootor ei käivitu. Starterist ajab ringi, aeg-ajalt puterdab nagu tahaks minna, kuid siiski ei lähe. Siis oli päev pausi ... läks käima kenasti ja söitis, töötas. Nüüd jälle ei käivitu, lubab vahest kuid tööle ei lähe.
Armatuuril pölevad mootori ja käigukasti tuli.
Oskab keegi soovitustega aidata kust vöiks viga otsida ?
Möni 9-5 esimese pölvkonne "beebiviga" mida veel likvideerinud pole ?
Saab 9-5 Estate 2.3t -->3.0t, 1999, overspeed
Postitatud: N Mär 21, 2013 18:28
Postitas overspeed
Selline küsimus, et kas bensiinipumba surinat peaks kuulda olema?
Multimeetriga vaatasin, et annab korra pinge peale, kui süüde sisse keerata ning seejärel siis, kui starterit anda. Pumba kohal olev kaas oli maas, körvapidi pumba juures, kuid mingit sirinat ma ei kuulnud. Kas ta ikka nii vaikne on ?
Kus mootoril asub temperatuuri andur kütusesüsteemi jaoks ?
Kui see peaks meeletult valetama, siis uputaks üle vöi annaks külma ilmaga liialt vähe peale.
Kas öhulugejal oli mingi viga mis kerge tulema ?
Kui öhulugejal pistik tagant ära vötta, kas siis sai kuidagit avariireziimis koju söita ?
Saab 9-5 Estate 2.3t -->3.0t, 1999, overspeed
Postitatud: N Mär 21, 2013 18:57
Postitas Homersimpson
Pump ikka teeb korralikult häält.. Ja ilma õhulugejata on võimalik sõita küll... Kütusesüsteemi temperatuuri andur? Ei tule nagu ette. Jahutusvedeliku temp andurit äkki mõtled? See on küll üks argumente külmkäivitusel rikkama segu tekitamisel
Saab 9-5 Estate 2.3t -->3.0t, 1999, overspeed
Postitatud: N Mär 21, 2013 19:02
Postitas overspeed
Pump ikka teeb korralikult häält.. Ja ilma õhulugejata on võimalik sõita küll... Kütusesüsteemi temperatuuri andur? Ei tule nagu ette. Jahutusvedeliku temp andurit äkki mõtled? See on küll üks argumente külmkäivitusel rikkama segu tekitamisel
Hmmm ... Tänud. Seda arvasin minagi, et kahtlaselt vaikne. Vöibolla harjad läbi, kui vahest annavad ühendust kuid nüüd enam mitte.
Temp andurit mötlesin seda, mis ütleks küttesüsteemile, kui külm öues on et ta teaks palju kütust anda mootorile, nagu külmkäivituse pärast. Kas ta vötab selle info jahutusvedeliku andurist vöi on selleks eraldi andur ... nii mötlesin pikemalt.
Saab 9-5 Estate 2.3t -->3.0t, 1999, overspeed
Postitatud: N Mär 21, 2013 19:03
Postitas overspeed
Kas oskab keegi kirjeldada, mis miski juhe sääl benapumbal teeb. Neli neid pumba külge läheb, kolm pumba körvale pistiku. Ehk siis kokku 7 juhet bensiinipaagile ?
Saab 9-5 Estate 2.3t -->3.0t, 1999, overspeed
Postitatud: R Mär 22, 2013 19:06
Postitas overspeed
Saab 9-5 Estate 2.3t -->3.0t, 1999, overspeed
Postitatud: R Mär 22, 2013 19:08
Postitas overspeed
Valmistada tuleb selline vöti:

- tooriist.jpg (48.69 KiB) Vaadatud 5436 korda