pidurivõimendi
kinnitused peaksid erinevad olema.
Saabidega seotud voodoo ja -abi
www.ferdinand.ee – Autodiagnostika – SAAB diagnostika, remont ja elektritööd – AAC Ferdinand OÜ - tel. 5272989
www.ferdinand.ee – Autodiagnostika – SAAB diagnostika, remont ja elektritööd – AAC Ferdinand OÜ - tel. 5272989
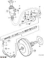
keegi võiks nüüd varuosade alla liigitada..
igatahes on veel olemas elektriline võimendi ja vaakumiga, kui ma nüüd õigesti aru sain ja oleks vaja vaakumiga võimendit 9000 oma.
väike pilt kah, siis on keerulisem segamini ajada.
igatahes on veel olemas elektriline võimendi ja vaakumiga, kui ma nüüd õigesti aru sain ja oleks vaja vaakumiga võimendit 9000 oma.
väike pilt kah, siis on keerulisem segamini ajada.
Algselt postitas: Cyber
Ma ei saa aru, mik sul tonnise oma vaja on. Sul ju 900.
Ma pakun, et siin ongi mõte panna klassikule peale tonnise pidurivõimendi. Endal on sama asi peast läbi käinud. Klassikul istud piduripedaali nagu kangi otsas, pead jõudu kasutama, tonnisel lihtsalt suure varbaga vajutad :P
terv, teager
-
Cyber
- Täiesti Mõttetu Mölaööbik
- Postitusi: 13953
- Liitunud: K Mär 03, 2004 9:25
- Asukoht: Tallinn
- Auto: 9000 '96, V70 '03
- Kontakt:
Mis teil pole jalalihast?? Või on lihtsalt pidurid pekkis? Mu auto pidurdab täpselt nii palju kui ma vajutan... Võiks olla paremad, aga ma tean mis auto mul on.. arvestan sellega. Või on siis sõidustiilid NII erinevad?
Teager, topi omale ette tonnise sadulad ja vastavad klotsid. Klotsi pind on kolmandiku suurem.. peaks vist toimetama küll..;)
Küsi Pva käest, ta tegi selle triki ära, oskab sulle rääkida, mis vahe on.
Teager, topi omale ette tonnise sadulad ja vastavad klotsid. Klotsi pind on kolmandiku suurem.. peaks vist toimetama küll..;)
Küsi Pva käest, ta tegi selle triki ära, oskab sulle rääkida, mis vahe on.
Algselt postitas: teager
Algselt postitas: Cyber
Ma ei saa aru, mik sul tonnise oma vaja on. Sul ju 900.
Ma pakun, et siin ongi mõte panna klassikule peale tonnise pidurivõimendi. Endal on sama asi peast läbi käinud. Klassikul istud piduripedaali nagu kangi otsas, pead jõudu kasutama, tonnisel lihtsalt suure varbaga vajutad :P
terv, teager
kui sa hoolikalt vaatasid, mis ma siin seletasin, siis nägid et on olemas kaht täiesti eri liiki neid võimendeid ja tonnisel on tavaliselt see elektriline. kui ma ei eksi siis 900 abs'iga variandil on kah midagi taolist, pole näinud aga oletan, kuna tonnise abs'iga variandil on just see elektriline. ja üldse, korras vaakumiga võimendi töötab kah varbaga!
-
qdwin
- Jaan Tatikas
- Postitusi: 2290
- Liitunud: T Sept 28, 2004 19:42
- Asukoht: Tallinn ja Elva
- Auto: Jalgratas.
Kui naine või Hemi on lahked siis Klassik, 9-5 Aero või 9-5 Griffin
Mu eelmisel 96a 2,0t tonnisel oli elektriline lisa vaakumpump, praegusel 96a. 2,3T-l seda pole.Algselt postitas: farmacoma
kui sa hoolikalt vaatasid, mis ma siin seletasin, siis nägid et on olemas kaht täiesti eri liiki neid võimendeid ja tonnisel on tavaliselt see elektriline. kui ma ei eksi siis 900 abs'iga variandil on kah midagi taolist, pole näinud aga oletan, kuna tonnise abs'iga variandil on just see elektriline. ja üldse, korras vaakumiga võimendi töötab kah varbaga!
Algselt postitas: teager
Algselt postitas: Cyber
Ma ei saa aru, mik sul tonnise oma vaja on. Sul ju 900.
Ma pakun, et siin ongi mõte panna klassikule peale tonnise pidurivõimendi. Endal on sama asi peast läbi käinud. Klassikul istud piduripedaali nagu kangi otsas, pead jõudu kasutama, tonnisel lihtsalt suure varbaga vajutad :P
terv, teager
Ei ole see mitte nii.Tonnised,milledel on ABS Teves Mark 2,neil käib pedaal loomajõuga. Mark 4,mis tuli 93 lõpus-sellel käib pedaal kergelt ja asi on hüdraulika ehituses kinni,mitte vaakumvõimendis.
Saabidega seotud voodoo ja -abi
www.ferdinand.ee – Autodiagnostika – SAAB diagnostika, remont ja elektritööd – AAC Ferdinand OÜ - tel. 5272989
www.ferdinand.ee – Autodiagnostika – SAAB diagnostika, remont ja elektritööd – AAC Ferdinand OÜ - tel. 5272989
Algselt postitas: farmacoma
vat siis... aga mingi elektriline pump seal absiga võimendis ikkagi on, mis see teeb?
anyway, mul on seda "kopsikut" endiselt vaja!
Krt,kõlla Cyberile:fight::fight:
Saabidega seotud voodoo ja -abi
www.ferdinand.ee – Autodiagnostika – SAAB diagnostika, remont ja elektritööd – AAC Ferdinand OÜ - tel. 5272989
www.ferdinand.ee – Autodiagnostika – SAAB diagnostika, remont ja elektritööd – AAC Ferdinand OÜ - tel. 5272989
Algselt postitas: Trionic
Algselt postitas: farmacoma
vat siis... aga mingi elektriline pump seal absiga võimendis ikkagi on, mis see teeb?
anyway, mul on seda "kopsikut" endiselt vaja!
Krt,kõlla Cyberile:fight::fight:
a see ju 900 oma, ega ma endale ei otsi.

